|
|
|
|
|
|
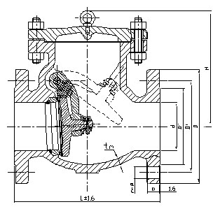
| 止回阀(点击进入看详细参数) |
|


|
Size |
d |
D |
D' |
D" |
b |
n |
¢ |
L |
tm |
H |
Weight |
|
mm |
inch |
mm |
inch |
mm |
inch |
(Kg) |
|
11/2" |
38 |
156 |
114 |
4 1/2 |
73 |
20.6 |
4 |
22 |
7/8 |
241 |
9 1/2 |
7.9 |
126 |
16.3 |
|
2" |
51 |
165 |
127 |
5 |
92 |
22.3 |
8 |
19 |
3/4 |
267 |
10 1/2 |
9.5 |
152 |
20.3 |
|
21/2" |
64 |
190 |
149 |
5 7/8 |
105 |
25.4 |
8 |
22 |
7/8 |
292 |
11 1/2 |
11.1 |
175 |
33.3 |
|
3" |
76 |
210 |
168 |
6 5/8 |
127 |
28.5 |
8 |
22 |
7/8 |
318 |
12 1/2 |
11.9 |
191 |
42.3 |
|
4" |
102 |
254 |
200 |
7 7/8 |
157 |
31.8 |
8 |
22 |
7/8 |
356 |
14 |
12.7 |
216 |
60 |
|
6" |
152 |
318 |
270 |
10 5/8 |
216 |
36.6 |
12 |
22 |
7/8 |
444 |
17 1/2 |
15.9 |
267 |
117 |
|
8" |
203 |
381 |
330 |
13 |
270 |
41.1 |
12 |
25 |
1 |
533 |
21 |
17.4 |
309 |
192 |
| TECHNICAL SPECIFICATION |
PERFORMANCE SPECIFICATION |
BODY MARKING |
| CLASS |
150lb |
CLASS |
150lb |
SIZE RATING MATERIAL TRADEMARK HEAT NO. |
| DESIGN STANDARD |
BS 1868 |
INTENSITY TEST PRESSURE |
3.1Mpa |
| FACE TO FACE |
ASME B16.10 |
SEALING TEST PRESSURE |
2.3Mpa |
| FLANGED ENDS |
ASME B16.5 |
WORKING TEMPERATURE |
-29~425°C |
| TEST & INSPECTION |
BS 6755.1 |
APPLICABLE MEDIUM:WATER OIL & GAS |
|
| [打印] [返回] |
|
|