|
|
|
|
|
|
| gate valve(detailed parameter) |
|


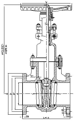
主要结构尺寸
|
Size |
d |
D |
D' |
D" |
b |
n |
¢ |
L |
tm |
STEM |
W |
H |
H |
Weight |
|
mm |
inch |
mm |
inch |
mm |
inch |
Tr |
(COLSE) |
(OPEN) |
(Kg) |
|
11/2" |
38 |
127 |
98.5 |
3 7/8 |
73 |
17.5 |
4 |
16 |
5/8 |
165 |
6 1/2 |
6.3 |
17.5 |
200 |
338 |
410 |
18 |
|
2" |
51 |
152 |
120.5 |
4 3/4 |
92 |
19.1 |
4 |
19 |
3/4 |
178 |
7 |
8.7 |
19.1 |
200 |
353 |
425 |
21 |
|
21/2" |
64 |
178 |
139.5 |
5 1/2 |
105 |
22.3 |
4 |
19 |
3/4 |
190.5 |
7 1/2 |
9.5 |
19.1 |
200 |
402 |
500 |
28 |
|
3" |
76 |
190 |
152.5 |
6 |
127 |
23.9 |
4 |
19 |
3/4 |
203 |
8 |
10.3 |
22.2 |
250 |
412 |
508 |
36 |
|
4" |
102 |
229 |
190.5 |
7 1/2 |
157 |
23.9 |
8 |
19 |
3/4 |
229 |
9 |
11.1 |
25.4 |
250 |
452 |
595 |
53 |
|
6" |
152 |
279 |
241.5 |
9 1/2 |
216 |
25.4 |
8 |
22 |
7/8 |
267 |
10 1/2 |
11.9 |
28.6 |
300 |
588 |
756 |
77.4 |
|
8" |
203 |
343 |
298.5 |
11 3/4 |
270 |
28.5 |
8 |
22 |
7/8 |
292 |
11 1/2 |
12.7 |
31.8 |
350 |
754 |
978 |
119.7 |
|
10" |
254 |
406 |
362 |
14 1/4 |
324 |
30.2 |
12 |
25 |
1 |
330 |
13 |
14.3 |
34.9 |
400 |
884 |
1161 |
180 |
|
12" |
305 |
483 |
432 |
17 |
381 |
31.8 |
12 |
25 |
1 |
356 |
14 |
15.8 |
38.1 |
450 |
1085 |
1380 |
320 |
|
14" |
337 |
534 |
476 |
18 3/4 |
413 |
35.1 |
12 |
29 |
1 1/8 |
381 |
15 |
16.6 |
41.3 |
500 |
1092 |
1405 |
450 |
设计标准与技术参数
| TECHNICAL SPECIFICATION |
PERFORMANCE SPECIFICATION |
BODY MARKING |
| CLASS |
150Lb |
CLASS |
150Lb |
SIZE RATING MATERIAL TRADEMARK HEATNO. |
| DESIGN STANDARD |
BS 1414 |
INTENSITY TEST PRESSURE |
3.1Mpa |
| FACE TO FACE |
ASME B16.10 |
SEALING TEST PRESSURE |
2.3Mpa |
| FLANGED ENDS |
ASME B16.5 |
SEALING TEST PRESSURE |
2.3Mpa |
| WORKING TEMPERATURE |
-29~425°C |
| TEST & INSPECTION |
BS 6755.1 |
APPLICABLE MEDIUM:WATER OIL & GAS |
|
| [Print] [Returns ] |
|
|